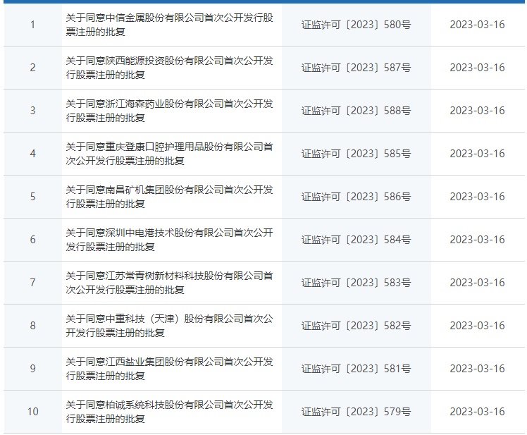
智通财经APP获悉,3月16日,根据证监会官网信息,中信金属、江盐股份、常青科技、中重科技、柏诚股份、中电港、陕能股份、海森药业、登康口腔、南矿集团等10家主板IPO获得证监会批复,证监会同意上述企业首次公开发行股票的注册申请。

智通财经APP获悉,3月16日,根据证监会官网信息,中信金属、江盐股份、常青科技、中重科技、柏诚股份、中电港、陕能股份、海森药业、登康口腔、南矿集团等10家主板IPO获得证监会批复,证监会同意上述企业首次公开发行股票的注册申请。
