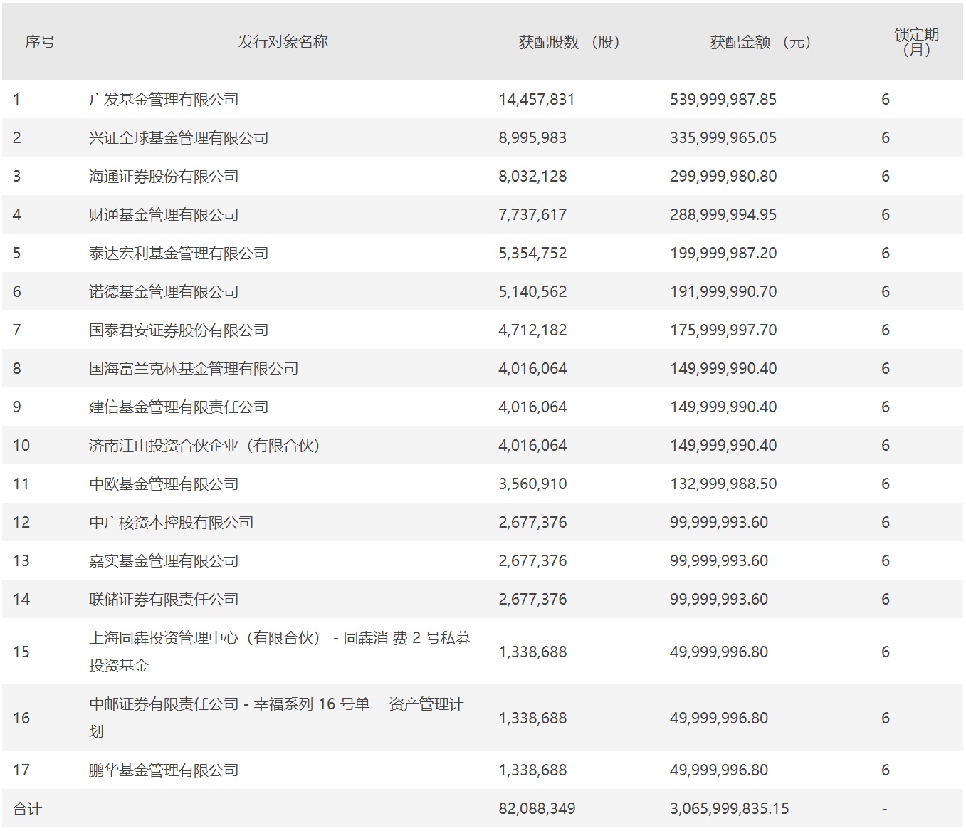
智通财经APP获悉,12月19日晚间,大金重工(002487.SZ)定增结果出炉。公告显示,本次发行价格为37.35元/股,发行股数为8208.83万股,募集资金总额30.66亿元。本次发行对象最终确定为17名,包括公募基金、私募基金、券商等多家机构。

公募基金方面,广发基金、兴证全球基金、泰达宏利基金、中欧基金、嘉实基金等11家参与认购,获配金额合计超21亿元。其中广发基金获配1445.78万股,获配金额5.4亿元;兴证全球基金获配899.6万股,获配金额3.36亿元;财通基金获配金额2.89亿元;泰达宏利基金、诺德基金获配金额也近2亿元。
券商方面,海通证券、国泰君安证券、联储证券获配金额分别为3.0亿元、1.76亿元、1.0亿元。
大金重工强调,本次发行对象与公司均不存在关联关系,与公司最近一年不存在重大交易情况,目前也没有未来交易的安排。本次发行对象全额以现金认购,不存在直接或间接来源于上市公司及其关联方的情形。对于未来可能发生的交易,公司将严格按照公司章程及相关法律法规的要求,履行相应的内部审批决策程序,并作充分的信息披露。
值得注意的是,此次系大金重工自2010年上市以来的首次再融资。根据此前发布的定增预案,大金重工此次扣除发行费用后的募集资金净额拟有五方面用途。一是辽宁阜新彰武西六家子250MW风电场项目;二是大金重工蓬莱基地产线升级及研发中心建设项目;三是大金重工(烟台)风电有限公司叶片生产基地项目;四是大金重工阜新基地技改项目;五为补充流动资金。
大金重工在最新公告中表示,本次定增募资发行完成后,公司的总资产和净资产金额将相应增加,整体资产负债率水平得到降低;同时公司流动比率和速动比率将提高,短期偿债能力得到增强。综上,本次发行将优化资本结构、提高偿债能力、降低财务风险,为公司持续稳定发展奠定坚实的基础。
财信证券表示,大金重工重点扩产海风基地,产能释放匹配“十四五”海风高增长需求。公司产能基地布局合理,三大陆风基地位于辽宁阜新、内蒙古兴安盟和河北张家口,临近陆风资源丰富的“三北”地区;两大海风基地位于山东蓬莱和广东阳江,可凭借绝对的区位优势直接承接“两东”庞大的海风需求。山东蓬莱基地预计于2022年三季度完成七期技改,广东阳江基地也在加快推进建设,两大基地预计在2025年形成100万吨海风产能,处于行业领先地位。
2023年是风电装机大年,大金重工蓬莱和阳江海塔产能释放值得关注,电站和叶片业务可以有效烫平单一塔筒业务的经营风险。财信证券不仅看好公司23年的业绩表现,也看好公司未来海塔产能持续放量、出口订单带动产品结构持续改善带来的量价持续共振。
截止发稿,大金重工涨幅达6.4%,报40.07元/股。





