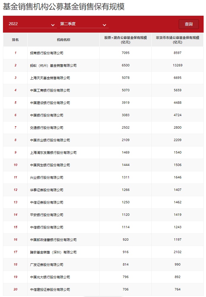
智通财经APP获悉,7月27日,中国证券投资基金业协会公布2022年二季度基金代销机构公募基金保有规模前100强名单。截至2022年二季度末,股票+混合公募基金保有规模排名中,招商银行(600036.SH)、蚂蚁基金、天天基金分别以7095亿元、6500亿元、5078亿元位居前三;非货币市场公募基金保有规模排名中,蚂蚁基金、招商银行、天天基金分别以13269亿元、8597亿元、6695亿元位居前三。中信证券(600030.SH)、华泰证券(601688.SH)、广发证券(000776.SZ)分别以1462亿元、1407亿元、990亿元,居于券商非货公募基金保有量前三位。其中,榜单前20名如下图:






