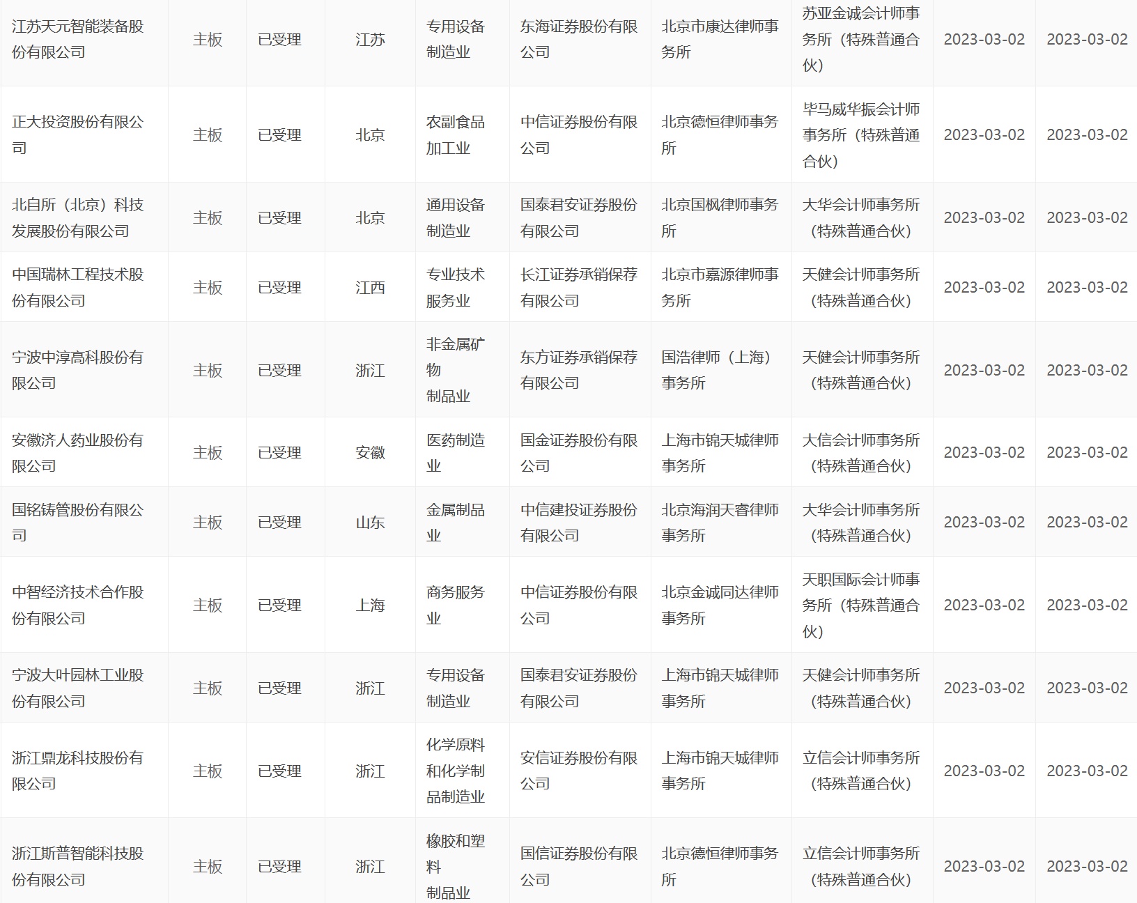
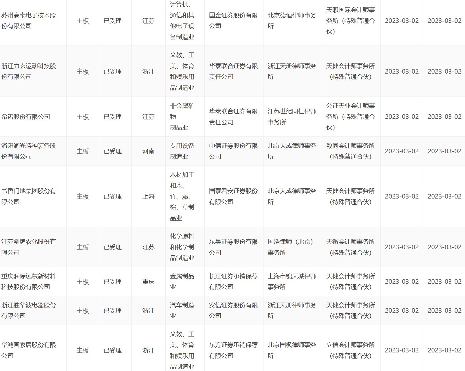
智通财经APP获悉,3月2日,天元智能、正大股份、北自科技、中国瑞林、中淳高科、济人药业、国铭铸管、中智股份、大叶工业、鼎龙科技、斯普智能、樱桃谷、星星冷链、紫林醋业、兴业汽配、天和磁材、安特磁材、安邦股份、永兴股份、高泰电子、力玄运动、希诺股份、涧光股份、书香门地、剑牌农化、润际新材、胜华波、华鸿股份、同富股份等29家公司申请IPO获上交所受理。




智通财经APP获悉,3月2日,天元智能、正大股份、北自科技、中国瑞林、中淳高科、济人药业、国铭铸管、中智股份、大叶工业、鼎龙科技、斯普智能、樱桃谷、星星冷链、紫林醋业、兴业汽配、天和磁材、安特磁材、安邦股份、永兴股份、高泰电子、力玄运动、希诺股份、涧光股份、书香门地、剑牌农化、润际新材、胜华波、华鸿股份、同富股份等29家公司申请IPO获上交所受理。



