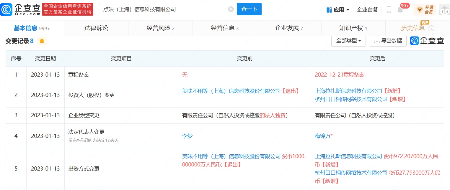
智通财经APP获悉,企查查APP显示,近日,点味(上海)信息科技有限公司发生工商变更,原股东美味不用等(上海)信息科技股份有限公司退出,新增股东饿了么关联公司上海拉扎斯信息科技有限公司、口碑关联公司杭州口口相传网络技术有限公司,同时,李梦卸任法定代表人,由梅锦万接任。
据公开资料显示,点味(上海)信息科技有限公司成立于2019年2月,公司旗下美小店是一个餐饮信息平台,用户可以在平台上根据特色菜系、异国料理等类别,选择自己喜欢的门店进行下单。

智通财经APP获悉,企查查APP显示,近日,点味(上海)信息科技有限公司发生工商变更,原股东美味不用等(上海)信息科技股份有限公司退出,新增股东饿了么关联公司上海拉扎斯信息科技有限公司、口碑关联公司杭州口口相传网络技术有限公司,同时,李梦卸任法定代表人,由梅锦万接任。
据公开资料显示,点味(上海)信息科技有限公司成立于2019年2月,公司旗下美小店是一个餐饮信息平台,用户可以在平台上根据特色菜系、异国料理等类别,选择自己喜欢的门店进行下单。
