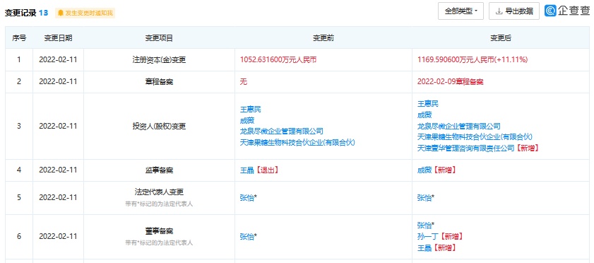
智通财经APP获悉,企查查App显示,SEVENCHIC香氛笔关联公司糖果(上海)化妆品有限公司近日发生工商变更,新增股东天津壹华管理咨询有限责任公司(乐华娱乐子公司),同时由孙一丁任董事、戚薇任监事。据公开资料显示,糖果(上海)化妆品有限公司成立于2020年5月,SEVENCHIC香氛笔是一家化妆品品牌,主要从事美妆产品的开发及销售业务,主要有香氛、卸妆、底妆、眉眼妆及唇妆系列产品。

智通财经APP获悉,企查查App显示,SEVENCHIC香氛笔关联公司糖果(上海)化妆品有限公司近日发生工商变更,新增股东天津壹华管理咨询有限责任公司(乐华娱乐子公司),同时由孙一丁任董事、戚薇任监事。据公开资料显示,糖果(上海)化妆品有限公司成立于2020年5月,SEVENCHIC香氛笔是一家化妆品品牌,主要从事美妆产品的开发及销售业务,主要有香氛、卸妆、底妆、眉眼妆及唇妆系列产品。
