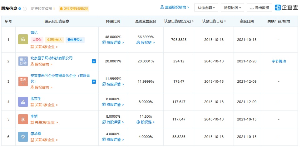
智通财经APP获悉,企查查APP显示,杭州李未可科技有限公司宣布获得字节跳动关联公司北京量子跃动科技有限公司投资,后者持股比例为20%。杭州李未可科技有限公司成立于2021年10月15日,创始人为茹忆。

据公开资料显示,李未可成立于2021年10月,打造了名为“李未可”的AR科技潮牌及同名虚拟IP形象,在短短不到2个月时间内就收获了头部产业方的青睐。创始人茹忆曾担任阿里巴巴人工智能实验室(A.I.Labs)智能终端负责人、天猫精灵产品总经理、小米电视合伙人。
智通财经APP获悉,企查查APP显示,杭州李未可科技有限公司宣布获得字节跳动关联公司北京量子跃动科技有限公司投资,后者持股比例为20%。杭州李未可科技有限公司成立于2021年10月15日,创始人为茹忆。

据公开资料显示,李未可成立于2021年10月,打造了名为“李未可”的AR科技潮牌及同名虚拟IP形象,在短短不到2个月时间内就收获了头部产业方的青睐。创始人茹忆曾担任阿里巴巴人工智能实验室(A.I.Labs)智能终端负责人、天猫精灵产品总经理、小米电视合伙人。