智通财经APP获悉,香港金融管理局今日(10月18日)公布19家可开展跨境理财通业务的香港银行名单。相关银行及其内地伙伴银行经内地相关监管机构纳入跨境理财通业务试点范围后(由内地相关监管机构于今日另行公布),最早可以于明日(10月19日)一同开始提供跨境理财通服务。
原文如下:
金管局公布可开展跨境理财通业务试点的香港银行名单
香港金融管理局(金管局)今日(10月18日)公布19家可开展跨境理财通业务的香港银行名单。相关银行及其内地伙伴银行经内地相关监管机构纳入跨境理财通业务试点范围后(由内地相关监管机构于今日另行公布),最早可以于明日(10月19日)一同开始提供跨境理财通服务。
金管局总裁余伟文表示:“我非常高兴见到多间香港银行已完成相关准备工作,可以开始推出跨境理财通服务。考虑到这将是很多零售投资者进行的首次跨境投资,我们会密切留意跨境理财通的运作情况,并与业界共同加强投资者教育及投资者保障工作。我们也会与业界保持联系,适时共同探索跨境理财通的优化措施,以期为香港的银行及财富管理行业带来更多增长机遇。”
根据金管局在2021年9月10日发布的“粤港澳大湾区跨境理财通业务试点实施细则”(《实施细则》),有意开展跨境理财通业务的香港银行需在相关业务启动前按《实施细则》的要求建立系统、内部管控措施以及完成相关系统测试,并向金管局提交自我评估。
金管局会继续处理余下香港银行提交的自我评估,并适时于金管局的跨境理财通网页更新可开展跨境理财通业务的香港银行名单。
香港金融管理局
2021年10月18日
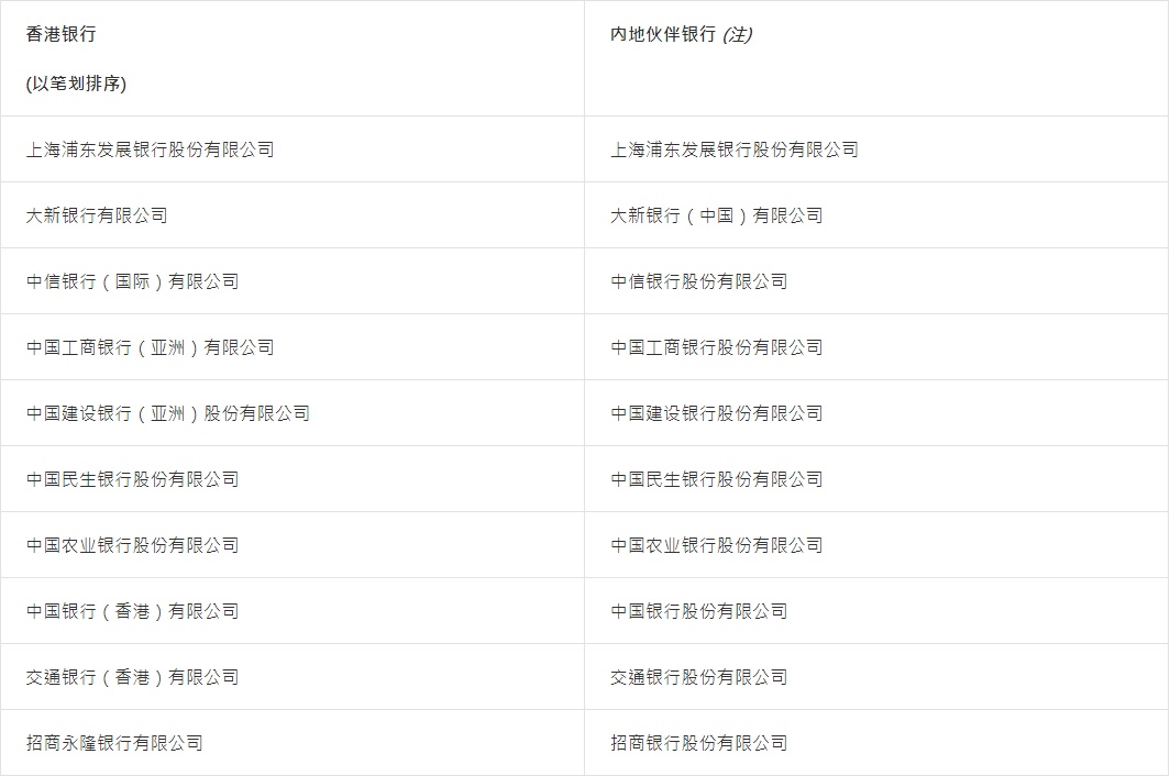
直至2021年10月18日,共有19家可开展南向通业务的香港银行。可开展南向通业务的香港银行及其内地伙伴银行的名单如下:


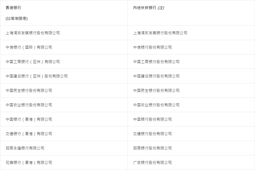
直至2021年10月18日,共有16家可开展北向通业务的香港银行。可开展北向通业务的香港银行及其内地伙伴银行的名单如下:


本文编选自”香港金融管理局“,智通财经编辑:汪婕。




