智通财经APP获悉,6月29日,天星银行官网宣布,雷军退任天星银行董事会主席,已由小米集团副总裁兼首席财务官林世伟接替职务。
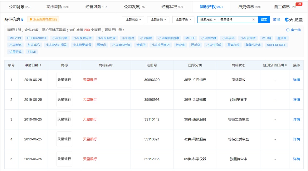
天眼查App显示,天星银行有限公司于2018年7月注册成立。此外,小米科技有限责任公司曾申请注册多个天星银行商标,国际分类包括金融物管、网站服务等,目前商标状态多为“等待实质审查”。
据了解,天星银行有限公司由小米集团及尚乘集团携手成立,为香港第二家正式营运的虚拟银行。


智通财经APP获悉,6月29日,天星银行官网宣布,雷军退任天星银行董事会主席,已由小米集团副总裁兼首席财务官林世伟接替职务。
天眼查App显示,天星银行有限公司于2018年7月注册成立。此外,小米科技有限责任公司曾申请注册多个天星银行商标,国际分类包括金融物管、网站服务等,目前商标状态多为“等待实质审查”。
据了解,天星银行有限公司由小米集团及尚乘集团携手成立,为香港第二家正式营运的虚拟银行。

