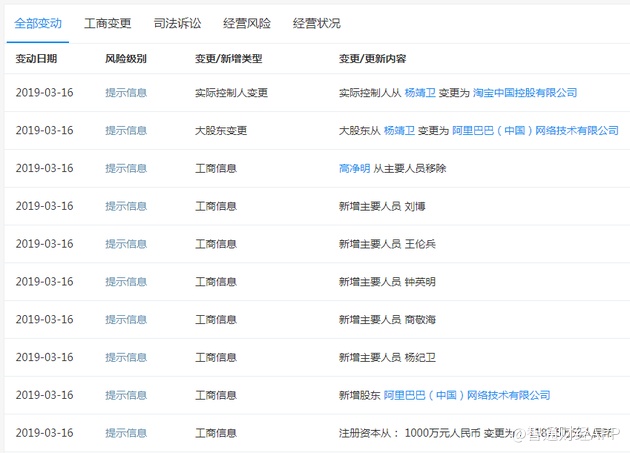
智通APP获悉,3月18日,据企查查信息显示,3月14日,阿里巴巴集团(BABA.US)(中国)网络技术有限公司入股河南匠多多信息科技有限公司,控股比例20%,公司实际控制人为淘宝中国控股有限公司。
据公开资料显示,河南匠多多信息科技有限公司成立于2018年8月30日,注册资本1187.5万元,经营范围包括装饰工程设计、施工、灯具安装及维修、计算机软硬件、电器家具的安装、家政服务、搬家服务、仓储服务、建筑工程施工等。


                    
        智通APP获悉,3月18日,据企查查信息显示,3月14日,阿里巴巴集团(BABA.US)(中国)网络技术有限公司入股河南匠多多信息科技有限公司,控股比例20%,公司实际控制人为淘宝中国控股有限公司。
据公开资料显示,河南匠多多信息科技有限公司成立于2018年8月30日,注册资本1187.5万元,经营范围包括装饰工程设计、施工、灯具安装及维修、计算机软硬件、电器家具的安装、家政服务、搬家服务、仓储服务、建筑工程施工等。

