智通财经APP获悉,7月29日,中国国家药监局药品审评中心(CDE)官网公示,赛诺菲(SNY.US)的1类新药amlitelimab注射液用于治疗重度斑秃的适应症获批临床。据悉,Amlitelimab是一款潜在“first-in-class”OX40信号通路阻断剂,有潜力治疗一系列免疫介导疾病和炎症性疾病,被赛诺菲认为有潜力成为重磅药物。此次用于重度斑秃的临床试验批准,意味着赛诺菲即将在中国开展面向斑秃患者群体的临床研究。
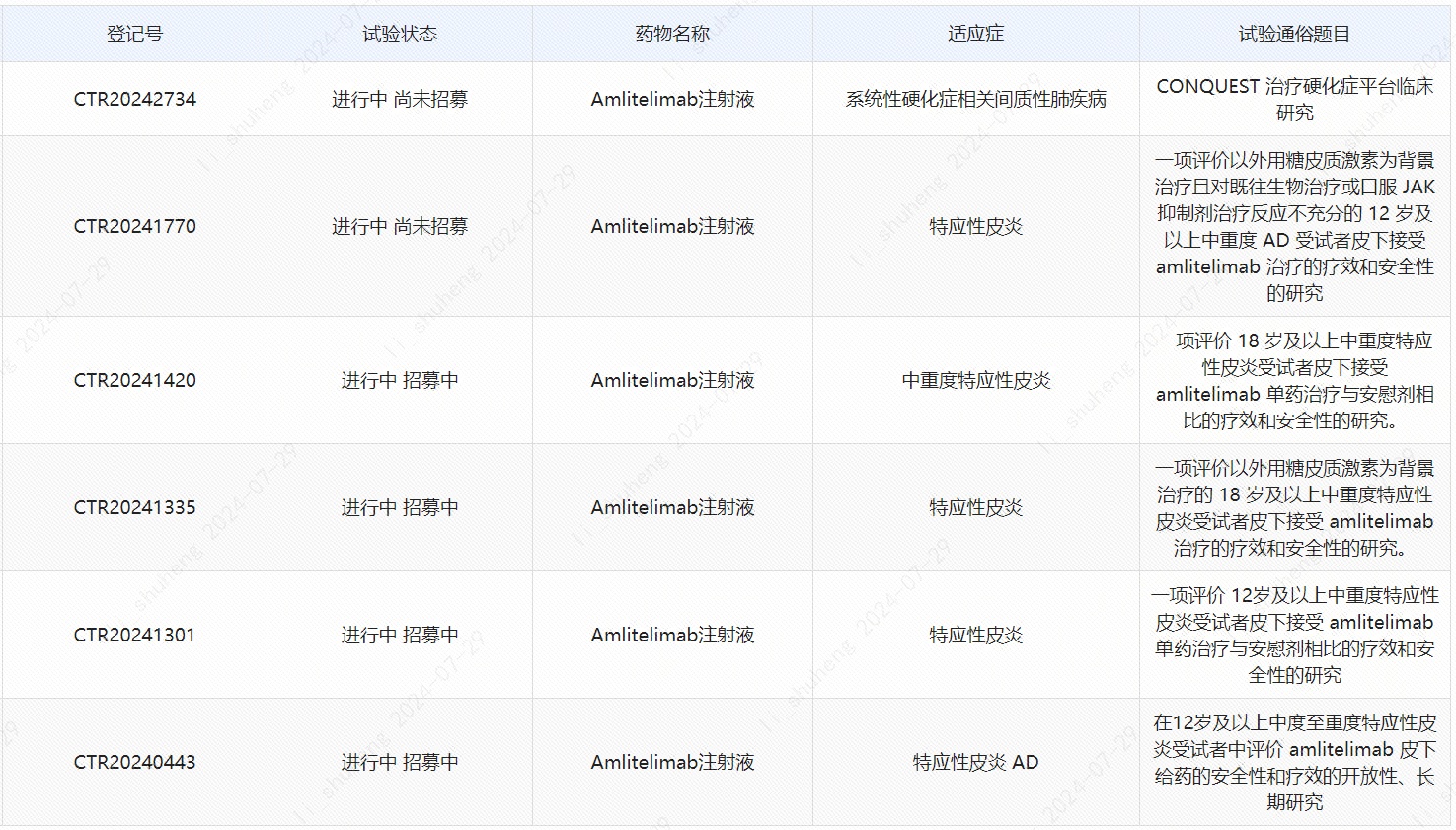
根据中国药物临床试验登记与信息公示平台,amlitelimab正在中国开展多项用于治疗特应性皮炎的临床研究,以及一项用于治疗系统性硬化症相关间质性肺疾病的临床试验。

据悉,斑秃是一种常见的炎症性非瘢痕性脱发,是全球发病率第二高的脱发症状。根据ClinicalTrials官网,目前amlitelimab治疗特应性皮炎的3期临床试验正在进行中,它还在临床试验中用于治疗哮喘,多发性硬化、化脓性汗腺炎等其它炎症性疾病。





