高威科、双瑞股份等13家企业深交所IPO审核状态变更为“中止”

548 9月28日
share-image.png
陈筱亦

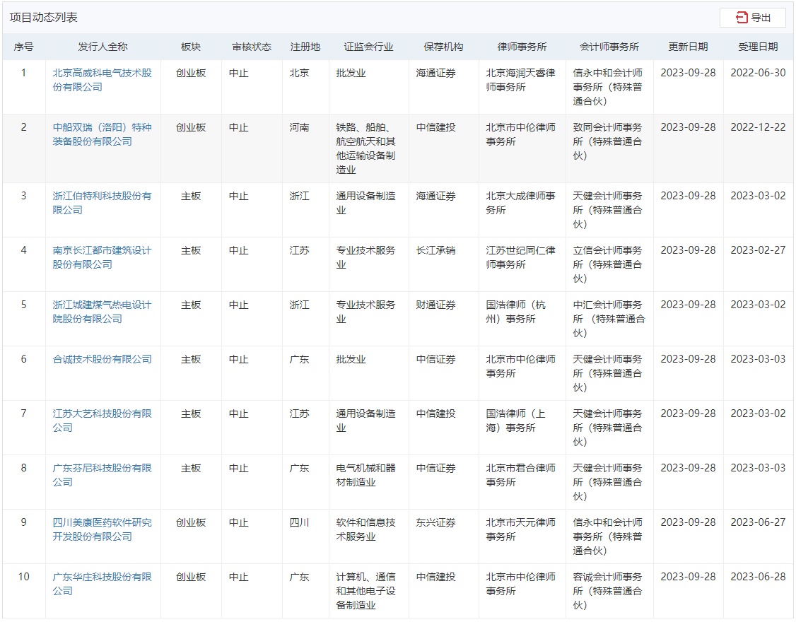
智通财经APP获悉,9月28日,高威科、双瑞股份、伯特利、长江都市、浙城设计、合诚技术、大艺科技、芬尼科技、美康股份、华庄科技、汉桑科技、品胜电子、乐尔股份共13家企业申请深交所IPO审核状态变更为“中止”。

相关阅读

深交所:对5宗违规行为进行纪律处分 涉及信息披露及规范运作违规

9月28日 | 汪婕

纵目科技IPO“终止” 主要客户包括赛力斯、长安汽车等

9月27日 | 黄晓冬

美国IPO市场重现复苏萌芽 明年将再度迎来上市盛宴?

9月27日 | 赵锦彬

亿联无限、施美药业等11家企业深交所IPO审核状态变更为“中止”

9月27日 | 汪婕

证监会同意安培龙创业板IPO注册

9月27日 | 汪婕